



UF系列單機袋式除塵器,全稱”單一機組袋式除塵器(Uni-Flite)”,O也稱“小單機”,是引進美國富樂公司的技術產品之一,由于該產品的結構緊湊簡單,自投入市場以來,很快被許多工業部門采用,主要由風機,搖動機械,袋室和濾袋等部件組成,應用于水泥廠各轉運點塵源
服務電話:13091153069(同微信)水泥廠用UF系列單機除塵器機組
UF系列單機袋式除塵器,全稱“單一機組袋式除塵器(Uni-Flite)”,O也稱“小單機”,是引進美國富樂公司的技術產品之一,由于該產品的結構緊湊簡單,自投入市場以來,很快被許多工業部門采用。
一、結構及工作原理
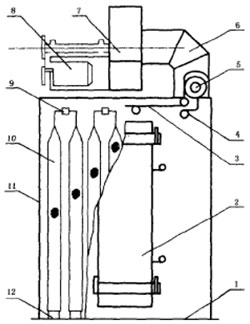
UF系列單機袋式除塵器的結構如圖7-1所示,主要由風機、搖動機械、袋室和濾袋等部件組成。分三種組裝形式:底部帶灰斗型、底部敞開型和底部帶灰箱型(分別見圖7-2a、b、c)。有2號~7號六個單機規格和各種單機組成,不論組裝形式和規格大小,其圖7-1部分的結構組成和原理都是相同的。

濾袋一般采用729滌綸除塵布袋或滌綸針刺氈,縫制成三袋聯體袋(也稱三聯袋),底部縫有彈性環使其能直接卡入花板孔中,頂部縫有相同材料的掛帶使其能將濾袋張緊和吊掛在搖桿上(見圖7-3)。過濾形式為內濾式。工作時含塵氣體由濾袋下口進入內部;過濾后的清潔氣體經袋室由排風機排入大氣,清灰時先停止過濾工作,再啟動搖動清灰機構進行清灰。
UF系列單機袋式除塵器的清灰方式是搖動清灰,其工作原理不同于機械清灰中的振動清灰和搖動清灰,而是通過搖動軸的往復搖動給濾袋一個軸線方面的往復力,濾袋又將這一往復力轉換成徑向的抖動運動(見圖7-4),其抖動的幅度和頻率取決于除塵布袋的長度、搖動軸半徑和頻率等參數。當這些參數配合較好時,其抖動力具有O值,足以清除濾料上的粉塵。顯然在過濾狀態時,由于濾袋受氣流的壓力而呈柱狀,搖動軸的往復運動就不能轉換成濾袋的徑向抖動,這就是它必須停機清灰的道理之一。


1、UF單機袋式除塵器的技術參數和輔助設備
處理風量:2040,O2720m3/h
運動阻力:1500~1900Pa(見表7-2)
過濾面積:37.2m2
過濾速度:0.9~1.2m/min
濾袋材料:729滌綸布
清灰時間:120s(其中60s為風機慣性時間,30s為搖動時間,30s為沉降時間)
風機型號:110IE(轉化Fuller風機)
全壓:2077Pa
流量:2830m3/h
搖動電機型號:YCJ-71
功率:0.5kW
|
表7-2 濾袋與機械的總阻力表
|
|
|
濾袋狀況
|
除塵器進出口間的阻力(Pa)
|
|
新
|
40
|
|
除塵前
|
1500
|
|
清灰后
|
50~80
|
2、測試時間
用含濕量0.85%的水泥窯灰,用圓盤喂料機計量粉塵喂入量。
3、測試時的進口濃度和排放濃度
進口濃度:70g/m3(標)=64g/m3
排放濃度:61.28mg/m3(標)=56.34mg/m3
除塵效率:99.91%
以上測試數據說明,UF系列單機袋式除塵器的清灰效果明顯,當除塵阻力達到1500Pa時,清灰后迅速降到50~80Pa。停機清灰時間設定2min,其中1min為風機慣性停轉時間(實測28s),清灰時間30s(實測搖動10s后即可達到明顯效果),粉塵沉降時間30s(有些場合取消這一時間)。